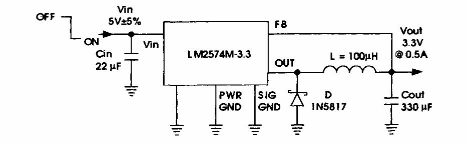
Encontrado em publicação da National Semiconductor, este circuito fornece uma tensão de saída de 3,3 V, ideal para alimentação de microcontroladores. A corrente máxima é de 500 mA.
Encontrado em publicação da National Semiconductor, este circuito fornece uma tensão de saída de 3,3 V, ideal para alimentação de microcontroladores. A corrente máxima é de 500 mA.