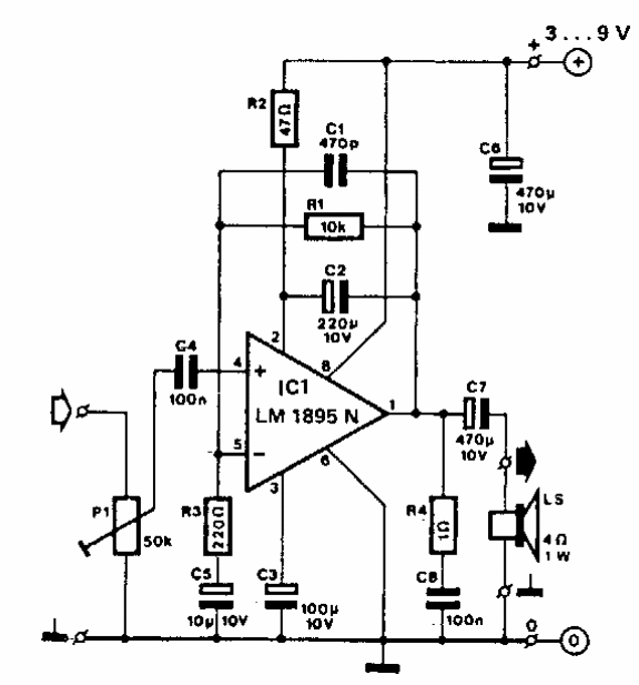
Este circuito pode ser alimentado por tensões de 3 a 9 V fornecendo potências de saída de100 mW a 1 W. A faixa passante é de 20 kHz e o consumo com 3 V é de 80 mA subindo para 270 mA com 9 V.

Este circuito pode ser alimentado por tensões de 3 a 9 V fornecendo potências de saída de100 mW a 1 W. A faixa passante é de 20 kHz e o consumo com 3 V é de 80 mA subindo para 270 mA com 9 V.
