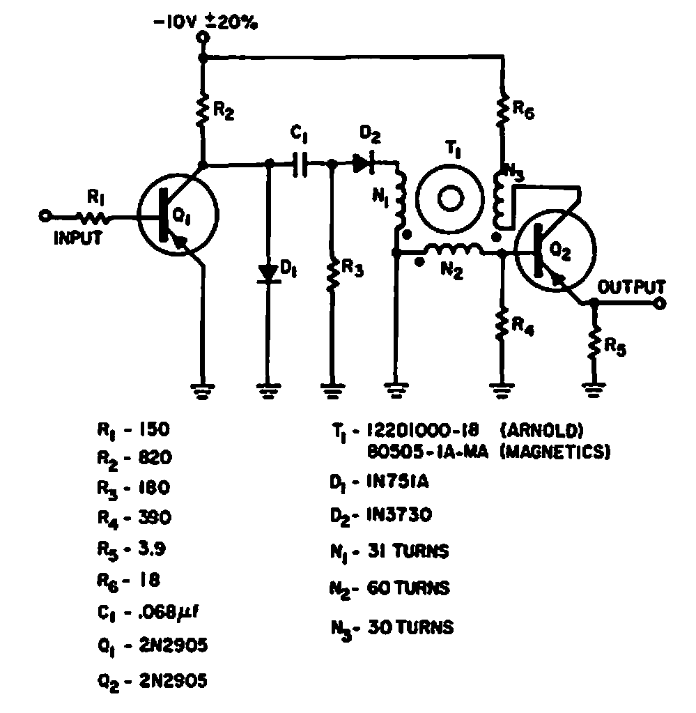
Neste circuito de uma Electronic Design de 1964 a divisão de frequência do sinal é feita de acordo com o valor de C1 ou o número de espiras N1 do toroide. O circuito pode ser elaborado com base em componentes modernos.
Neste circuito de uma Electronic Design de 1964 a divisão de frequência do sinal é feita de acordo com o valor de C1 ou o número de espiras N1 do toroide. O circuito pode ser elaborado com base em componentes modernos.