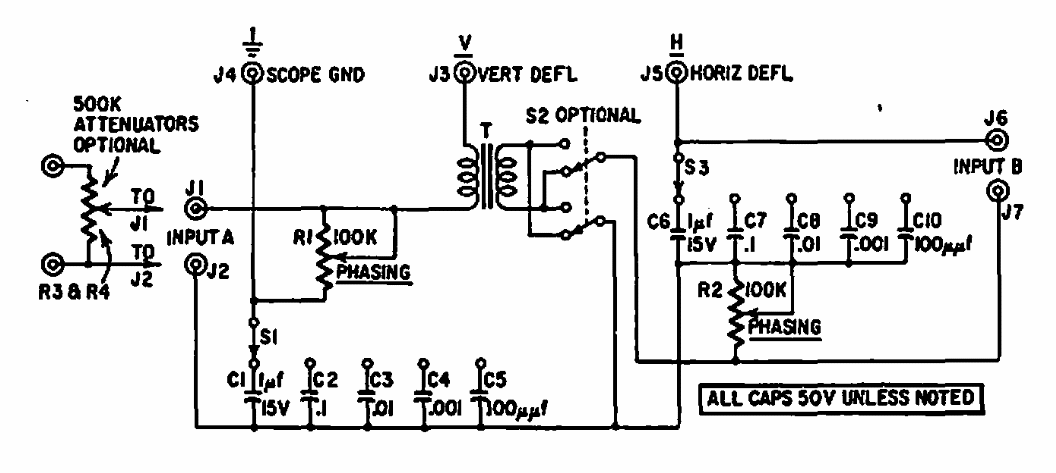
A finalidade deste circuito de uma Radio Electronics de 1965 e observar formas de onda cicloides em um osciloscópio comum. A faixa de frequências depende dos ajustes das chaves.

 


| Clique na imagem para ampliar |

 

 

 

NO YOUTUBE


NOSSO PODCAST