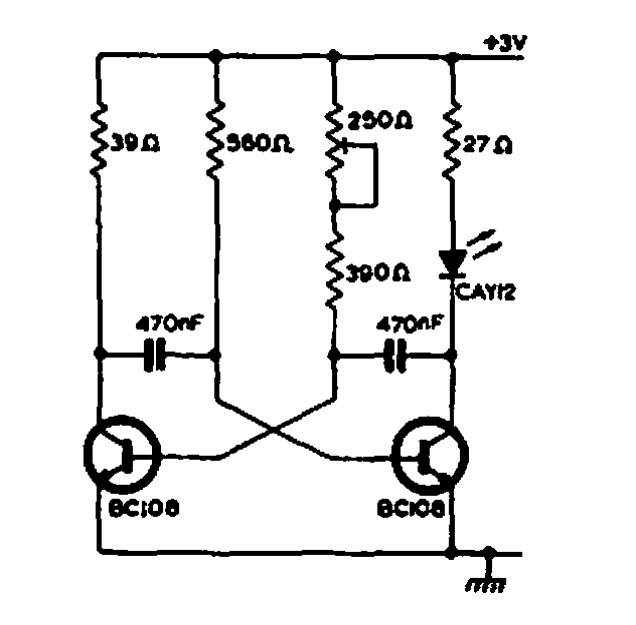
Este simples circuito da Philips dos anos 60 pode usar qualquer transistor de uso geral. O sinal é modulado em 2,7 kHz.

 


 

 

 

 

NO YOUTUBE


NOSSO PODCAST