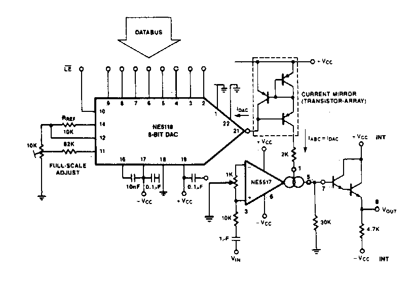
Este amplificador com ganho programado digitalmente foi obtido em documentação da Signetics dos anos 80. O circuito pode servir de base para um projeto com conversor D/A moderno, operando como shield.
Este amplificador com ganho programado digitalmente foi obtido em documentação da Signetics dos anos 80. O circuito pode servir de base para um projeto com conversor D/A moderno, operando como shield.