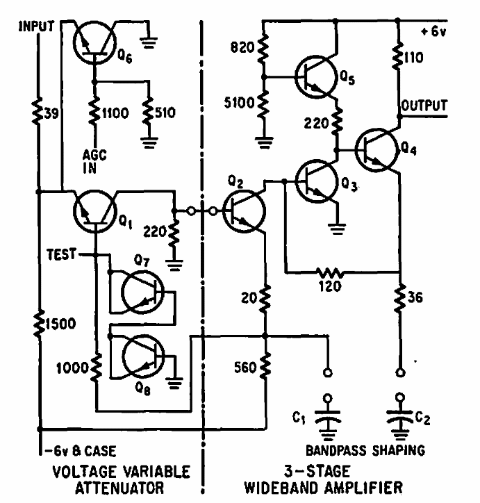
Este circuito com o PA7601 foi encontrado numa documentação da Philco-Ford de 1967. O circuito tem uma faixa passante de 45 a 120 MHz.

 


| Clique na imagem para ampliar |

 

 

 

NO YOUTUBE


NOSSO PODCAST