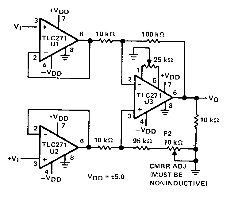
Encontrado em documentação da Texas Instruments dos anos 90, este circuito pode ser usado como shield pois sua alimentação simétrica é de 5 V. O circuito possui ajuste de offset e faixa passante de 200 kHz.
Encontrado em documentação da Texas Instruments dos anos 90, este circuito pode ser usado como shield pois sua alimentação simétrica é de 5 V. O circuito possui ajuste de offset e faixa passante de 200 kHz.