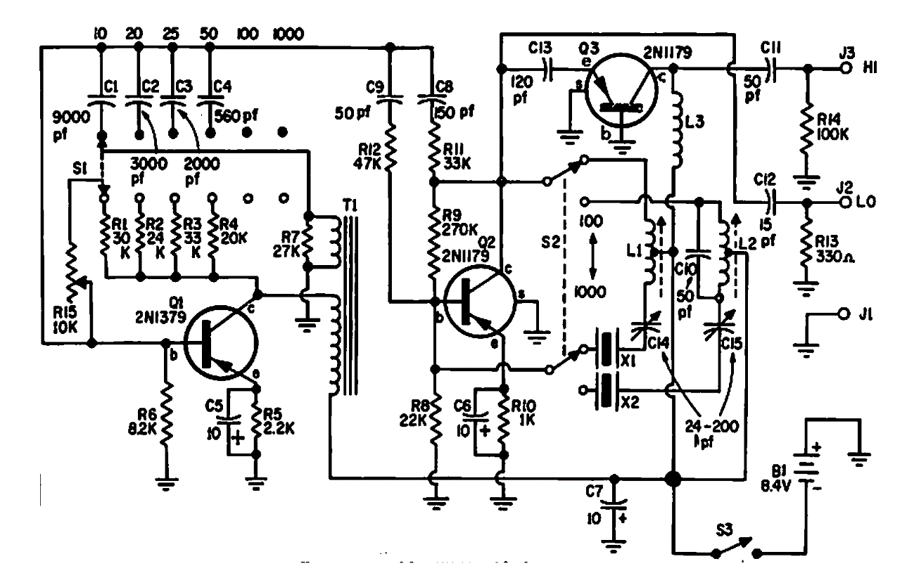
Este circuito para diversas frequências foi obtido em uma documentação americana dos anos 90. As frequências vão de 10 a 1 000 kHz em diversas faixas selecionadas por uma chave. Os cristais são de 100 kHz e 1 MHz.
Este circuito para diversas frequências foi obtido em uma documentação americana dos anos 90. As frequências vão de 10 a 1 000 kHz em diversas faixas selecionadas por uma chave. Os cristais são de 100 kHz e 1 MHz.