Voltamos a uma época em que o rádio se desenvolvia rapidamente e os experimentos com transmissão estavam ao alcance de todos. Surgia então uma categoria de amadores que ate hoje se mantém forte que eram os que utilizavam as telecomunicações como pesquisa, lazer e até mesmo profissionalmente: os radioamadores. Trataremos da revista QST que inicou suas atividades, criada pela ARRL a Liga dos Radioamadores dos Estados Unidos e se mantém até hoje. Trataremos da versão impressa história que foi até 1969.

No código Q adotado nas telecomunicações, tendo sido criado pelos primeiros radioamadores, QST significa “Chamando Todas as Estações” ou “Chamada Geral”. QST Magazine foi uma revista criada originalmente pela liga americana de radioamadores ARRL em 1915. Em 1917 a revista foi suspensa pelo governo americano devido à entrada do país na Primeira Grande Guerra. A revista voltou a ser publicada em abril de 1919.
A revista tratava especificamente de assuntos ligados ao radioamadorismo como antenas, transmissores, como obter melhor desempenho e tinha também muitos projetos práticos de circuitos e outros dispositivos utilizados pelos radioamadores.

O conteúdo era especialmente interessante para o desenvolvimento das telecomunicações, daí sua importância histórica. Os autores dos projetos eram criadores de novas tecnologias em telecomunicações divulgando suas ideias através de artigos.
Isso ocorria desde uma época em que a maioria dos radioamadores montava seus equipamentos que não eram disponíveis prontos para a venda de uma forma como ocorre hoje, e que preferiam justamente isso, pois eram os maker no sentido melhor da palavra.
A suspensão da revista durante a primeira guerra foi justificada pela importância estratégica das telecomunicações no conflito e a publicação de ideias ou tecnologias que ajudassem o inimigo não seria conveniente.
Na figura 3 temos um projeto de um transmissor descrito na edição de 150 W descrito numa edição de 1941 mostrando o detalhamento do diagrama e uma lista completa de materiais.

A revista com impressão monocromática publicou centenas de projetos de transmissores, muitos dos quais podem ser montados até hoje, principalmente pelos leitores adeptos das válvulas.
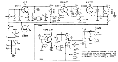
É claro que circuitos transistorizados e integrados também foram explorados como na edição de março de 1966 em que tivemos um transmissor completo com transistores. (figura 4)

Evidentemente, uma revista que marcou época pela divulgação das tecnologias das telecomunicações. Baixe os exemplares até 1969 no link.
https://www.worldradiohstory.com/QST.htm















