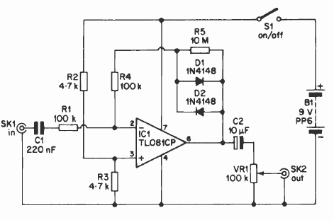
Este simples efeito de distorção para guitarra foi encontrado numa documentação dos anos 90. O circuito é atual podendo ser usados amplificadores operacionais equivalentes.

Este simples efeito de distorção para guitarra foi encontrado numa documentação dos anos 90. O circuito é atual podendo ser usados amplificadores operacionais equivalentes.
