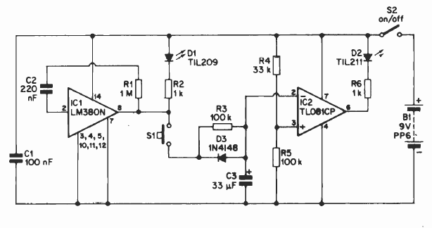
Quem é mais rápido ou jogo da reação são outros nomes para este circuito que encontramos em documentação antiga. O circuito fornece a indicação em LEDs.

Quem é mais rápido ou jogo da reação são outros nomes para este circuito que encontramos em documentação antiga. O circuito fornece a indicação em LEDs.
