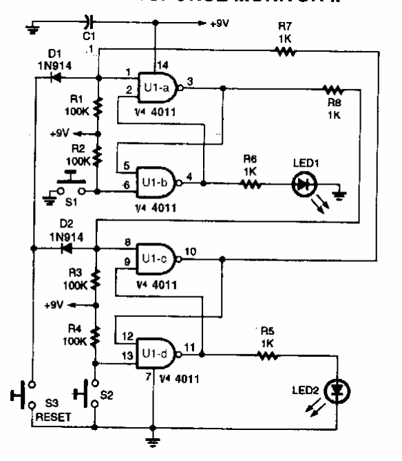
Encontramos este jogo para dois competidores numa Popular Electronics dos anos 80. O circuito pode ser alimentado por tensões de 6 a 12 V.

Encontramos este jogo para dois competidores numa Popular Electronics dos anos 80. O circuito pode ser alimentado por tensões de 6 a 12 V.
