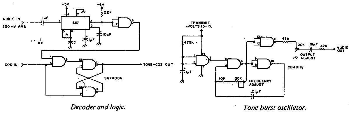
Os circuitos dados a seguir foram encontrados em documentação americana antiga. O circuito pode ser implementado com outras lógicas.