Fonte linear com painel solar CIR20558S CB21023E (CIR20462)
Detalhes
Escrito por: Newton C. Braga
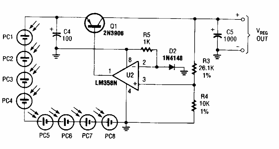
O circuito é de um Electronics Hobbyst Handbook dos anos 90, sendo válido para painéis da época, com menor rendimento. O circuito fornece 2,4 V com corrente de 125 mA.