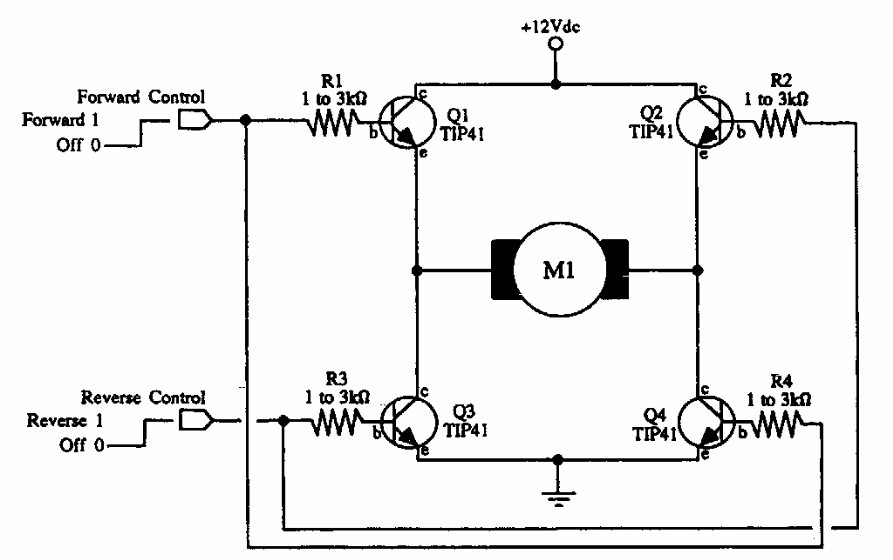
Este circuito foi obtido numa documentação americana antiga. Os transistores usados possibilitam o controle de um motor de até uns 2 A de corrente. Eles devem ser dotados de dissipadores de calor.

 

 


| Clique na imagem para ampliar |

 

 

NO YOUTUBE


NOSSO PODCAST