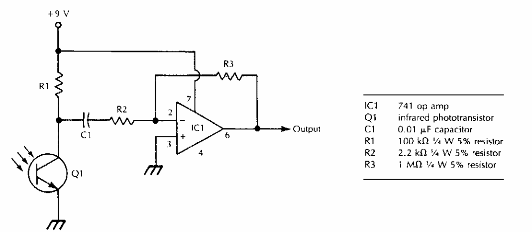
Encontrado numa documentação americana dos anos 90, este circuito recebe sinais infravermelhos modulados. A taxa de transmissão depende do operacional usado. A aplicação principal é como link de áudio.
Encontrado numa documentação americana dos anos 90, este circuito recebe sinais infravermelhos modulados. A taxa de transmissão depende do operacional usado. A aplicação principal é como link de áudio.