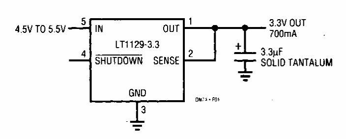
Este circuito para circuitos lógicos de 3,3 V tem entrada de 5 V e a corrente máxima de saída é da ordem de 1 A. O circuito é de um manual da Linear Technology.

 


| Clique na imagem para ampliar |

 

 

NO YOUTUBE


NOSSO PODCAST