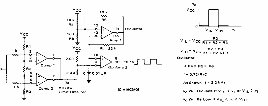
Usando um comparador de janela, este circuito dispara numa determinada faixa de tensões de entrada. Fórmulas para o cálculo dessas tensões são dadas junto ao diagrama. O circuito é de uma documentação americana dos anos 90.
Usando um comparador de janela, este circuito dispara numa determinada faixa de tensões de entrada. Fórmulas para o cálculo dessas tensões são dadas junto ao diagrama. O circuito é de uma documentação americana dos anos 90.