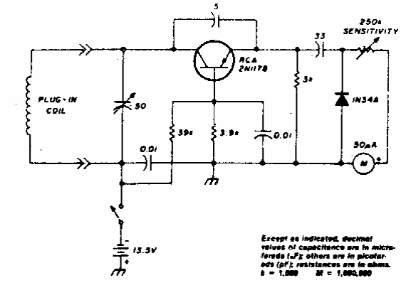
Este circuito foi obtido numa publicação americana dos anos 80. O circuito usa um transistor a época, mas equivalentes de RF modernos podem ser usados. A faixa de frequências depende da bobina.

Este circuito foi obtido numa publicação americana dos anos 80. O circuito usa um transistor a época, mas equivalentes de RF modernos podem ser usados. A faixa de frequências depende da bobina.
