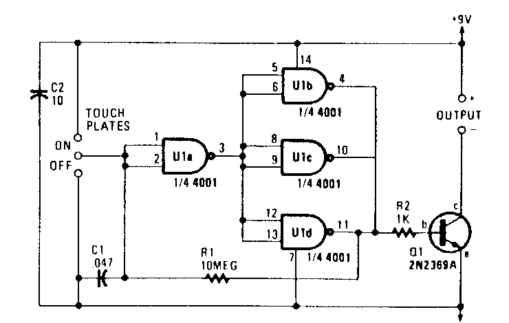
Encontrado em documentação americana dos anos 90, este circuito é bastante atual, podendo ser implementado com transistores de uso geral. Nunca use fonte sem transformador.

 


| Clique na imagem para ampliar |

 

 

 

NO YOUTUBE


NOSSO PODCAST