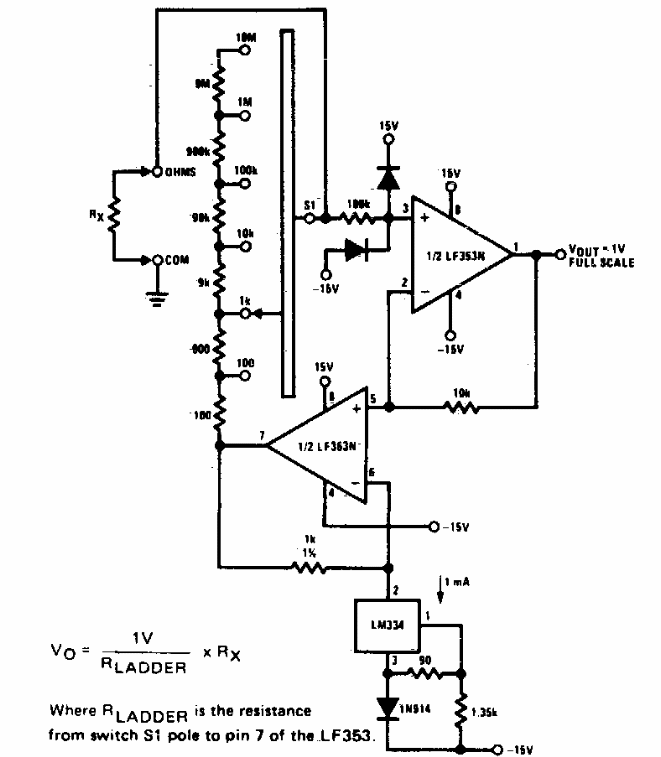
Este circuito pode ser usado como uma interface para medidas de resistência num multímetro comum. Com sua operação na escala de volts é possível obter uma escala de resistências linear. O circuito é de uma documentação dos anos 80, fazendo uso de componentes da época.
















