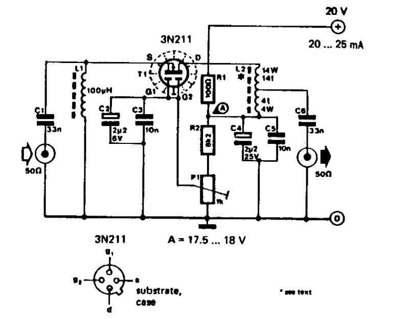
Este amplificador de banda larga foi encontrado numa Elektor dos anos 90. O ganho é de 10 dB com figura de ruído menor que 5 dB.

 


| Clique na imagem para ampliar |

 

 

NO YOUTUBE


NOSSO PODCAST