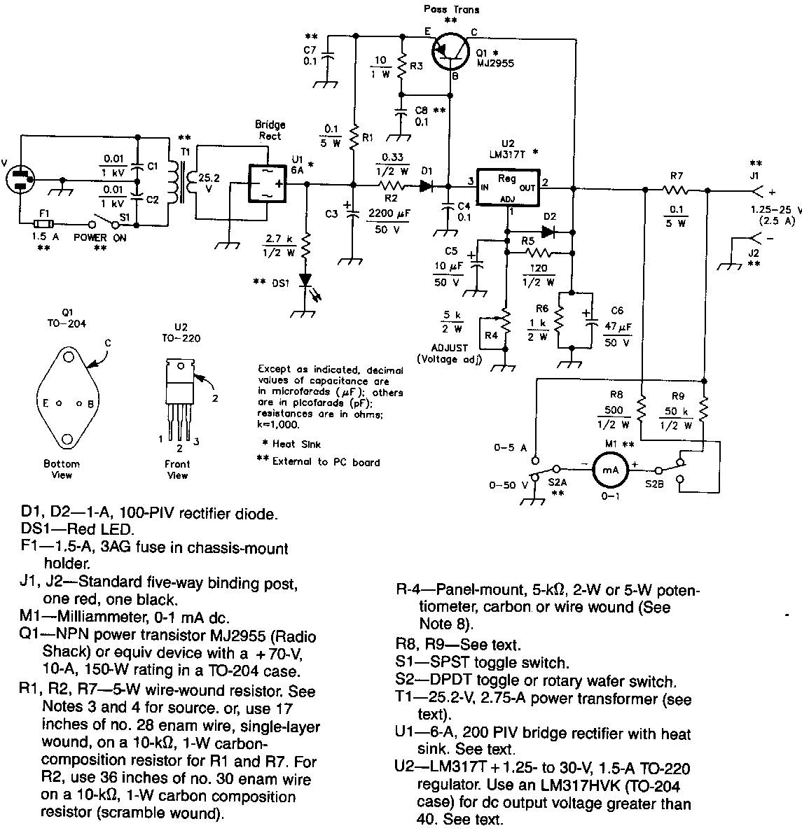
Esta fonte com 2,5 A foi encontrada numa revista QST dos anos 90. O transistor de potência deve ser montado em dissipador de calor.

 


| Clique na imagem para ampliar |

 

 

 

NO YOUTUBE


NOSSO PODCAST