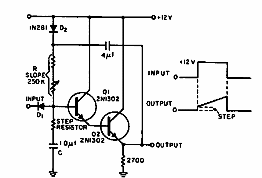
Encontramos este circuito numa documentação da Electronic Design dos anos 70. O circuito faz uso de transistores de uso geral da época. A linearidade é melhor que 0,25%.

 


| Clique na imagem para ampliar |

 

 

NO YOUTUBE


NOSSO PODCAST