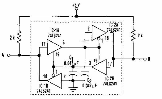
Este circuito foi obtido numa Electronic Design dos anos 90. O circuito emprega componentes da época.

 


 

 

 

NO YOUTUBE


NOSSO PODCAST