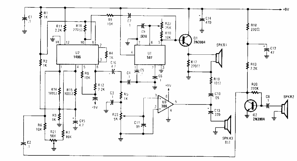
Este circuito foi encontrado numa Popular Electronics dos anos 90. Os sensores podem ser alto-falantes comuns que alcancem de 15k a 25 kHz, tais como tweeters piezoelétricos.
Este circuito foi encontrado numa Popular Electronics dos anos 90. Os sensores podem ser alto-falantes comuns que alcancem de 15k a 25 kHz, tais como tweeters piezoelétricos.