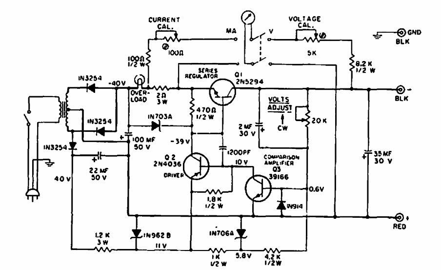
Fonte de 0 a 20 V com 200 mA CIR15697S CB8669E (CIR18661)
Detalhes
Escrito por: Newton C. Braga
Esta fonte foi encontrada numa Electronics World de 1969. A versão é sofisticada demais pela corrente que fornece, podendo ser implementada com transistores modernos.