Disparador Schmitt de 6 V CIR15446S CB8318E (CIR18407)
Detalhes
Escrito por: Newton C. Braga
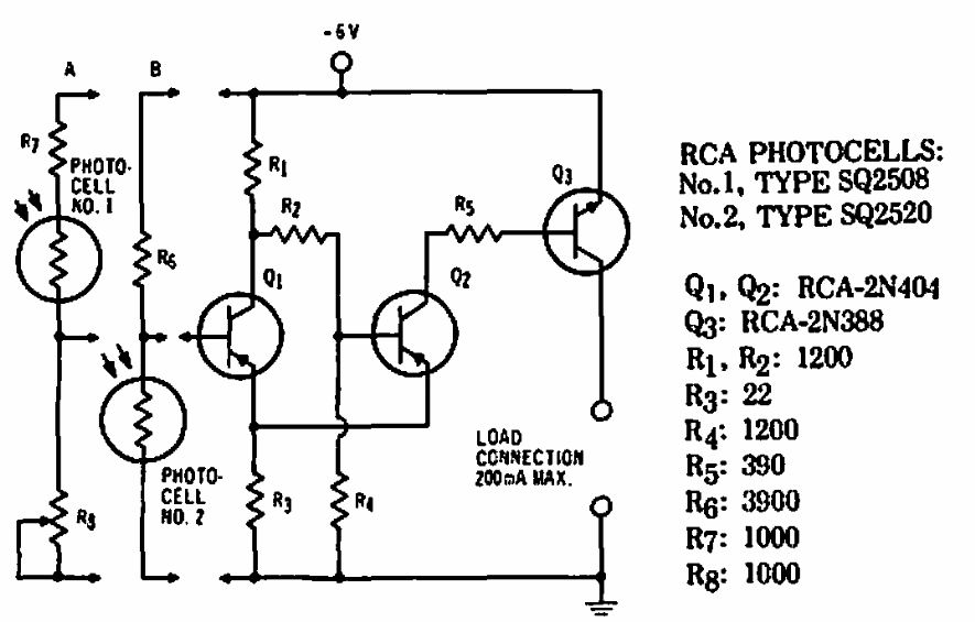
Encontramos este circuito em publicação antiga da RCA. Os componentes são da época, admitindo equivalentes. O circuito é disparado de duas formas usando LDRs.