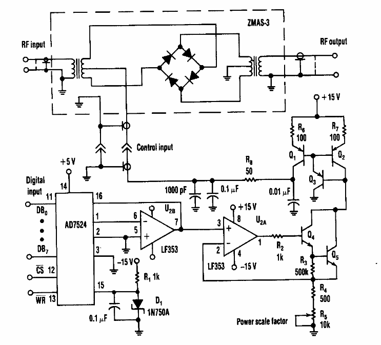
Este atenuador digital de sinais foi encontrado numa Electronic Design dos anos 90. O circuito opera em frequências que são determinadas pelas características do circuito atenuador.
Este atenuador digital de sinais foi encontrado numa Electronic Design dos anos 90. O circuito opera em frequências que são determinadas pelas características do circuito atenuador.