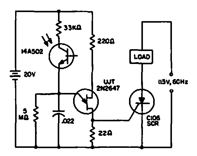
Este sensor de alta sensibilidade foi encontrado em um manual de SCRs da General Electric de 1967. O circuito admite equivalentes acionando uma carga conforme o SCR usado.

 


| Clique na imagem para ampliar |

 

 

 

NO YOUTUBE


NOSSO PODCAST