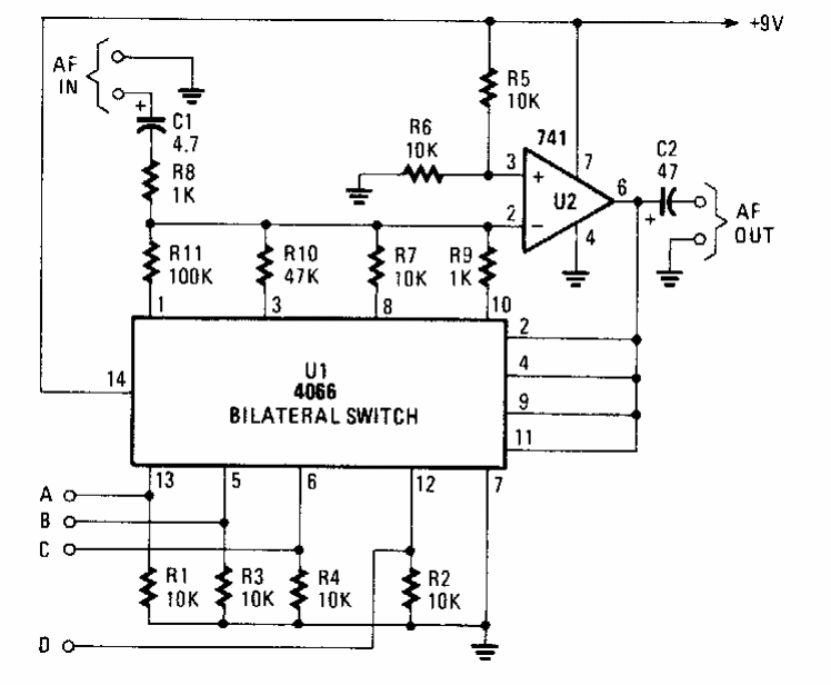
Este circuito foi encontrado numa Popular Electronics dos anos 90. Com ele, usando um 4066, é possível controlar entre menos de 1 a 100 o ganho de um amplificador operacional como o 741.
Este circuito foi encontrado numa Popular Electronics dos anos 90. Com ele, usando um 4066, é possível controlar entre menos de 1 a 100 o ganho de um amplificador operacional como o 741.