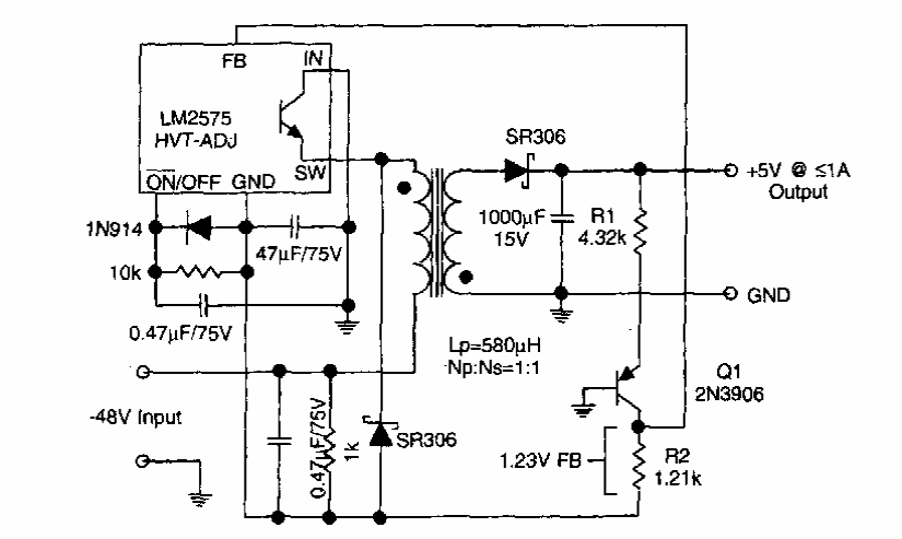
Este circuito para telecomunicações foi encontrado numa publicação da National Semiconductor dos anos 90. Ele se destina a conversão da tensão de 48 V de linhas telefônicas para 5 V com correntes até 1 A.
Este circuito para telecomunicações foi encontrado numa publicação da National Semiconductor dos anos 90. Ele se destina a conversão da tensão de 48 V de linhas telefônicas para 5 V com correntes até 1 A.