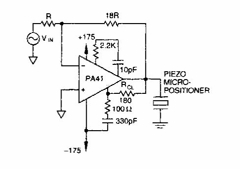
Encontrado numa Electronic Design dos anos 90, este circuito usa um componente da época, difícil de obter em nossos dias.

 


 

 

 

 

NO YOUTUBE


NOSSO PODCAST