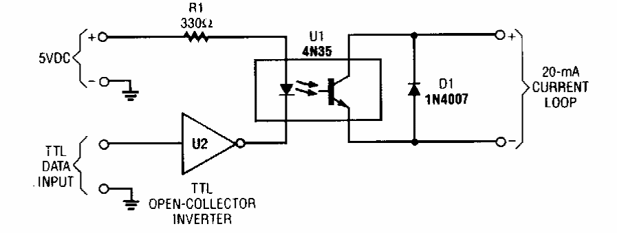
Este circuito foi obtido numa Popular Electronics dos anos 90. O circuito é compatível com microcontroladores sendo alimentado por 5 V.

 


| Clique na imagem para ampliar |

 

 

 

NO YOUTUBE


NOSSO PODCAST