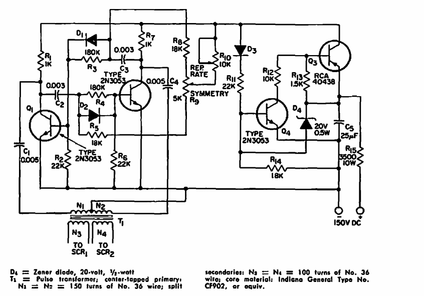
Encontrado em documentação da RCA dos anos 70, este circuito se destina ao disparo de tiristores em circuitos inversores. Os componentes são da época e a frequência de operação é de 10 kHz.
Encontrado em documentação da RCA dos anos 70, este circuito se destina ao disparo de tiristores em circuitos inversores. Os componentes são da época e a frequência de operação é de 10 kHz.