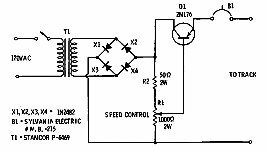
Encontrado em uma publicação americana de 1968, este circuito pode ser elaborado com base num TIP42 que deve ser montado em dissipador de calor. O transformador é de 25 V com corrente de 3 a 4 A.
Encontrado em uma publicação americana de 1968, este circuito pode ser elaborado com base num TIP42 que deve ser montado em dissipador de calor. O transformador é de 25 V com corrente de 3 a 4 A.