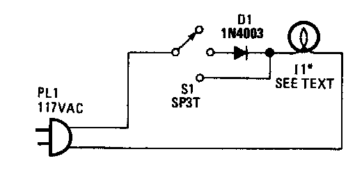
Este dimmer de duas potências aparece em diversos artigos de nosso site. Esta é de uma Popular Electronics não devendo de modo algum ser usado com aparelhos eletrônicos.

Este dimmer de duas potências aparece em diversos artigos de nosso site. Esta é de uma Popular Electronics não devendo de modo algum ser usado com aparelhos eletrônicos.
