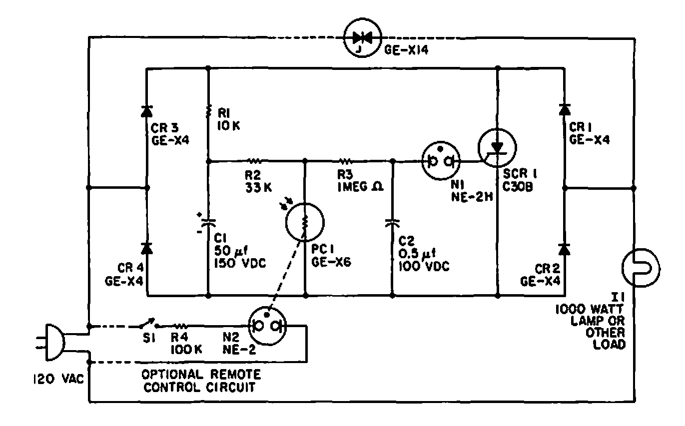
Sugerido pela General Electric em documentação de 1965, este flasher tem um circuito de controle com um acoplador óptico com lâmpada neon e LDR O circuito é para lâmpadas incandescentes.
Sugerido pela General Electric em documentação de 1965, este flasher tem um circuito de controle com um acoplador óptico com lâmpada neon e LDR O circuito é para lâmpadas incandescentes.