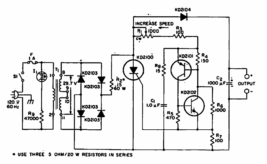
Este circuito é de um manual de SCRs da RCA de 1967. O circuito faz uso de componentes da época que podem ser substituídos por equivalentes modernos. O transformador é de 12 V x 1,2 A.
Este circuito é de um manual de SCRs da RCA de 1967. O circuito faz uso de componentes da época que podem ser substituídos por equivalentes modernos. O transformador é de 12 V x 1,2 A.