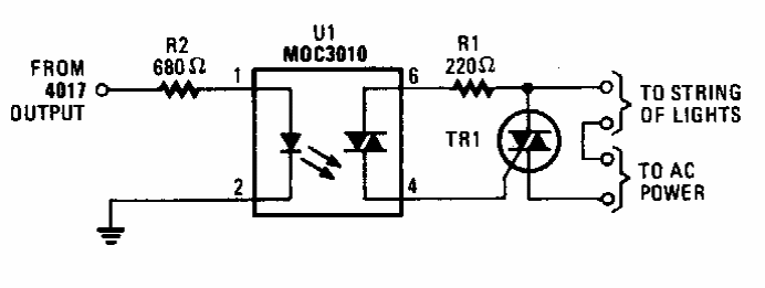
Originalmente sugerido por uma Popular Electronics para controlar lâmpadas de natal, este circuito pode perfeitamente encontrar aplicação como um shield. O valor de R2 será alterado conforme a saída do microcontrolador.
Originalmente sugerido por uma Popular Electronics para controlar lâmpadas de natal, este circuito pode perfeitamente encontrar aplicação como um shield. O valor de R2 será alterado conforme a saída do microcontrolador.