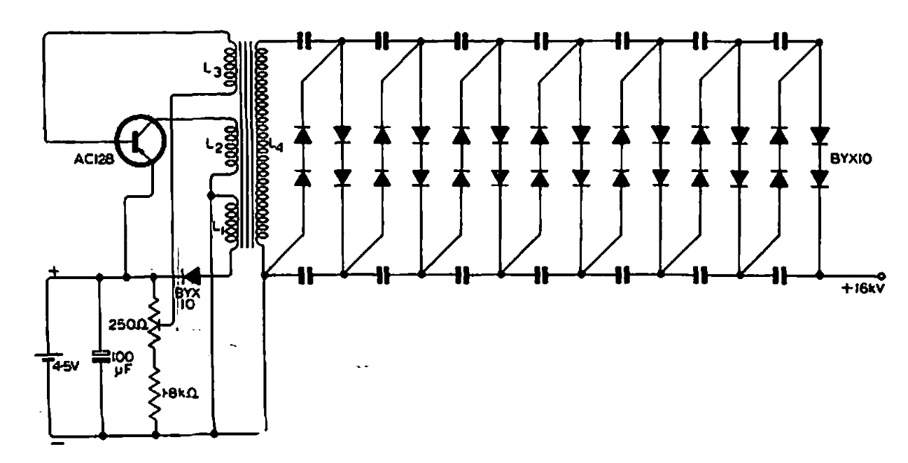
Este circuito consiste num inversor alimentado por apenas 4,5 V. O circuito é de uma documentação da Mullard de 1967. Não foram dadas informações sobre o enrolamento do transformador. Os capacitores podem ser de 1,5 nF x 3 kV.
Este circuito consiste num inversor alimentado por apenas 4,5 V. O circuito é de uma documentação da Mullard de 1967. Não foram dadas informações sobre o enrolamento do transformador. Os capacitores podem ser de 1,5 nF x 3 kV.