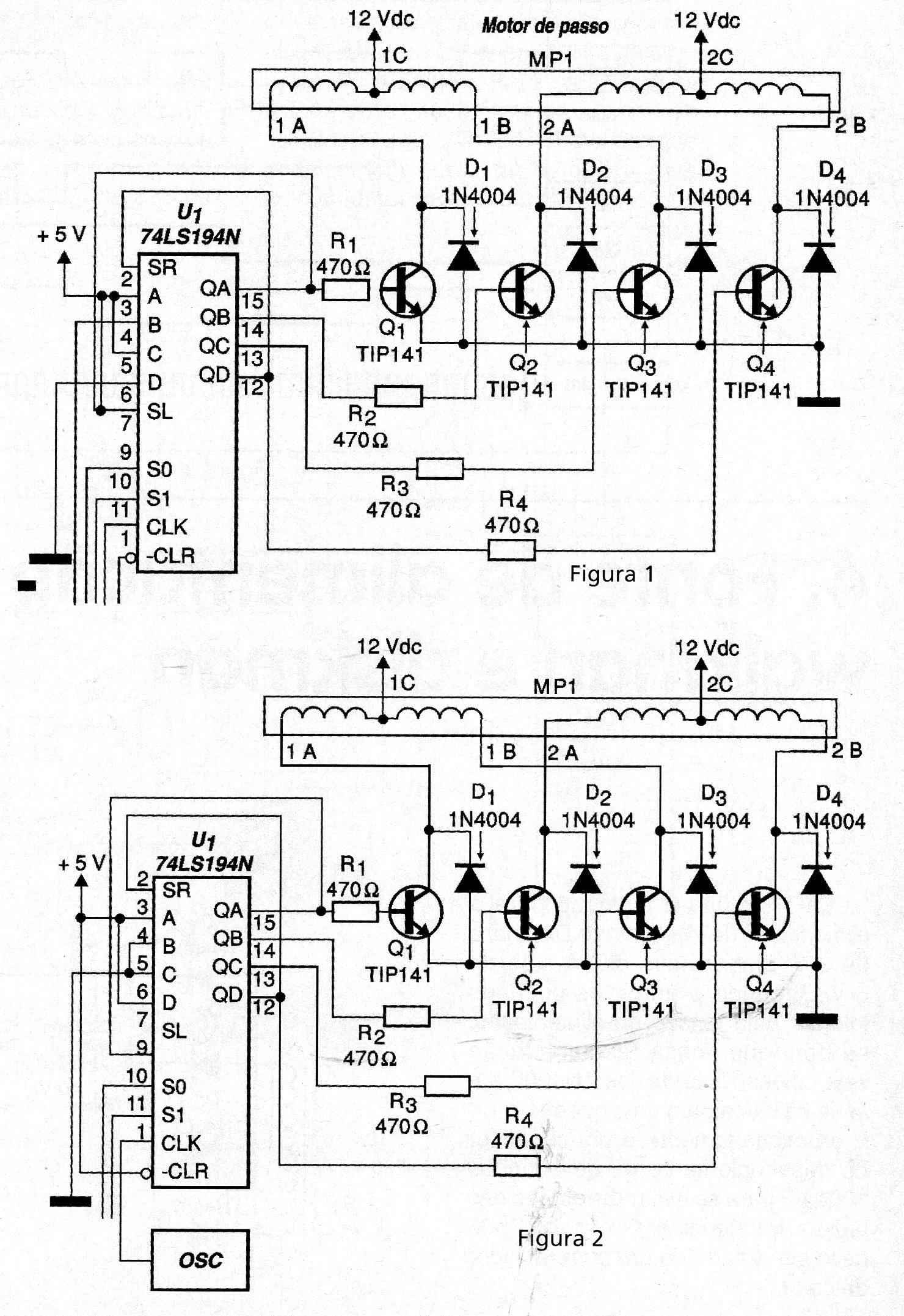
Encontramos este circuito numa publicação de 2002. Ele pode ser facilmente adaptado para operar como shield para microcontroladores. O circuito controla motores de passo nos dois sentidos, conforme indicações das tabelas. Os transistores de potência devem ser dotados de dissipadores de calor. No circuito da figura 1 temos 5 linhas de controle e no da figura 2, uma versão simplificada.

















