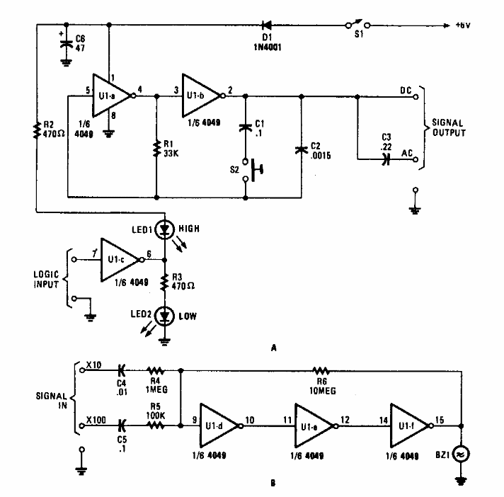
Encontrado numa Popular Electronics dos anos 90, serve tanto para lógica TTL como CMOS. O injetor pode fornecer sinais de 10 kHz ou 100Hz. O circuito aciona um transdutor e dois LEDs.

 


| Clique na imagem para ampliar |

 

 

 

NO YOUTUBE


NOSSO PODCAST